两年前的东京车展前夕,HONDA 展示出一款有如外星访客造型般的三轮车Neowing。当时据消息该车会以金翼的水平对置六缸发动机作为动力来源。

直到最近,这个消息又被新流出的专利图推翻,本田很有可能改以机械增压引擎来提升动力,以应付庞大车重。

HONDA Neowing 最早被认为可能以水平对置四缸引擎为动力,中期则被推测为使用对置六缸引擎,最新的专利图则显示为直列气缸引擎搭配机械增压系统。
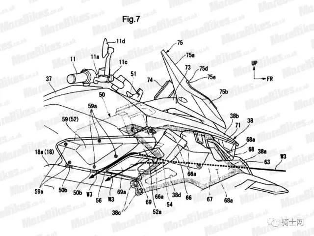
这次的专利书中除了披露机械增压机构之外,发动机型式也一改原先金翼的水平对置六缸,换成了对置四缸的新设计。图示也说明Neowing 的空滤盒是置中于油箱下方。机械增压的进气路线将由车头分别流入左右肩部进气道,再前往增压系统。由路线可看出,机械增压装置会在油箱下方,无法直接从外观看见。


但奇怪的一点是,在外观示意图部分Neowing的引擎是对水平对置四缸,但到了增压机的示意图时又变成了直列式。

Neowing 的空滤盒是置中于油箱下方。


机械增压的进气路线将由车头分别流入左右肩部进气道,再前往增压系统。
比较特别的是,文件还清楚说明了引擎的润滑油道和冷却水路路线,并标示出哪些管路是前往机械增压系统。转向机构的部分已于先前流出的文件中说明,所以这次并没有任何相关讯息,国外媒体推测Neowing 的具体推出时间可能要等到2019才会与世人见面。

当HONDA Neowing 于2015年首次现身之时,YAMAHA 也一同展出使用MT-09 引擎的三轮车MWT-9,而且后者已经进入量产阶段,两家日系车厂似乎都看好三轮车的市场潜能,未来除了传统两轮车款外,三轮性能车款说不定也会成为市场主流之一。