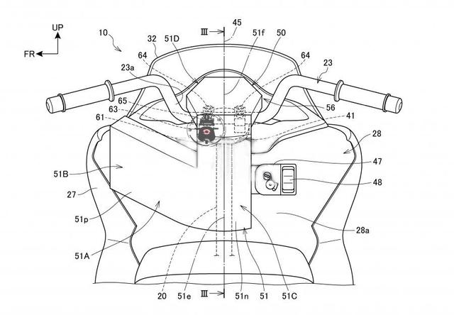
本田摩托最近展示了一种垂直发射安全气囊系统,该系统安装在前端车身内,该系统可在骑手面前垂直发射,工作方式与传统安全气囊类似,释放压缩气体以使安全气囊膨胀。

在摩托车前部安装安全气囊的想法已经存在了几乎与安全气囊本身一样长的时间,摩托车设计师想要将其整合到摩托车上的主要问题是包装。尽管汽车在仪表板,侧立柱和座椅内有足够的空间来存放安全气囊及其充气硬件,但摩托车几乎始终没有这些空间。本田公布的新系统显示了一个小型的气囊系统,该系统足够紧凑,可以安装在小型摩托车甚至踏板车的前端车身中。

本田摩托车安全气囊系统如何工作?
该系统使用一个可容纳袋子的外壳,并安装在摩托车头架周围的区域中,安全气囊从头架的两侧从容器中推出。当系统检测到碰撞时,我们假设通过传统的加速度计,安全气囊会通过内置的压缩气体罐进行充气,从而保护骑手免受正面冲击,无论是追尾另一辆车还是撞到固体物体,该系统的确看起来可以帮助防止一些,上身和头部伤害,而这部分伤害占摩托车事故统计的很大一部分。


尽管这个想法对许多人来说似乎是天方夜谭,但请不要忘记,本田是这种技术的先驱者之一,已经为顶级的本田金翼之旅DCT气囊安装了气囊。不过“金翼”上的系统更为传统,因为安全气囊是从摩托车的中控台发出的,而不是从头架区域发出的,这种最新的系统看起来是为小排量和/或踏板车细分市场量身定制的。