
日本专利局的文件显示,川崎对双燃料喷射技术(包括端口喷射和直接喷射)的探索如图所示。在过去的几年中,直接燃油喷射已成为汽车发动机技术的主要内容,尽管我们仍在等待它实现向两个车轮的飞跃,但是越来越多的证据表明摩托车燃油喷射技术正在发展。
去年,本田公司为新一代直喷非双发动机申请了专利,现在川崎似乎正随着其直喷系统相关专利申请的发布而大行其道。

汽油直喷已经在汽车中使用了很多年,而本田和川崎最近正在研究其发展,它可能很快就会出现在摩托车上。
在深入探讨细节之前,值得注意的是,直接喷射(汽油直接喷射或GDI)在其他类型的发动机中已经存在了数十年。最早的GDI航空发动机原型机,出现在第一次世界大战期间,第二次世界大战期间,许多德国飞机都使用了该技术,包括Messerschmitt Bf109和Focke-Wulf Fw190。此后不久便转移到汽车上,最初是在1951年的二冲程Gutbrod Superior上,1955年在Mercedes 300SL上达到了四冲程。在摩托车上,该技术已经过两次冲程的尝试,尤其是著名的Bimota V Due,并且最初计划在Motus MST上使用。但是,在生产版本推出之前,该公司恢复了传统的进气道喷射功能,因此我们仍在等待这项技术达到客户可使用的四冲程摩托车水平。

进气道喷射会在到达进气门之前向空气中添加燃料,从而在进入燃烧室之前给它们提供了足够的混合时间。
直接喷射和常规进气道燃料喷射都有其自身的优点和缺点,几乎所有现代摩托车都使用进气道喷射,将燃料添加到进气门上游的空气中。这意味着汽油和空气在到达燃烧室并被火花塞点燃之前有足够的时间混合。燃油还有助于冷却进气,从而使其密度更高,因此在进气冲程期间会有更多的空气燃料混合物被吸入气缸。
这一切都很好,但是对于试图最大程度地减少排放,并从每一滴燃料中榨取每一个最后的功率的工程师来说,端口注入已成为一个越来越大的问题。值得注意的是,现代高性能发动机通常会使用大量的气门重叠装置,当进气门在排气门关闭之前打开时,确保有时间逸出废气并为汽缸补充新的气。为了以很高的转速实现这一目标,需要大量的气门重叠,但这意味着当发动机没有在峰值转速下运行时,未燃烧的燃油有机会通过排气阀关闭。可变气门正时是旨在解决该问题的一种技术,而直接喷射则是另一种技术。

直接喷射到燃烧室中可避免未燃烧气体逸出的问题,并允许使用稀薄的空气燃料混合物以提高性能。
通过在排气门关闭后直接向燃烧室添加燃料,而不是在进气进入气缸之前将其与进气混合,GDI可以绕过未燃烧气体通过排气逸出的问题。更好的是,注入气缸的燃料有助于冷却活塞和燃烧室,从而有助于防止爆震。反过来,这意味着可以使用更稀薄的混合气,从而改善经济性,动力和排放性能。
有缺点,首先你会失去进气口的增压冷却效果,因此进入气缸的空气密度将降低。在将燃料直接喷入气缸与火花塞点燃之间的极短时间内,说服燃料将雾化并与进气充分混合是一个真正的挑战。这就是为什么在转速达到7,000 rpm的汽车上不难找到GDI的原因,但在转速高两倍的摩托车上还没有出现GDI。
转速问题正在克服,现代F1发动机采用巨大的燃油压力和巧妙设计的喷油器,可以直接喷射并达到与摩托车一样高的转速,从而解决了使燃油与空气混合得足够快的问题。

专门的喷射器旨在解决直接喷射情况下短时间内燃料与空气完全混合的问题。
川崎的解决方案
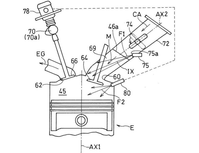
川崎的新专利表明,它希望通过制造同时使用两种系统的发动机,来获得最佳的进气和直接燃油喷射效果。
这不是一个全新的想法,包括丰田在内的汽车公司已经开发出具有所谓“双重”喷射功能的发动机,该个概念有很多好处。
首先,这意味着需要映射发动机管理计算机的范围,以根据节气门开度和发动机转速改变其使用喷射器的方式。混合使用这两种方法,可以保留进气口的增压冷却特性,并获得降低的直接喷射燃烧室温度。这个想法还意味着,可以使用进气道喷射器产生非常稀薄的混合物,该混合物均匀分布在燃烧室周围,然后使用直接喷射器在火花塞周围添加一个浓混合气区域,以帮助点燃它。

川崎正在考虑制造同时使用进气道和直接喷射的发动机。
川崎的专利显示了该系统可用于正常吸气和增压四缸发动机。就像去年提交的本田专利一样,增加直接喷射意味着需要第二台高压燃油泵,川崎的解决方案与本田的解决方案相同,即使用排气凸轮轴驱动机械高压泵来提高压力。到直接喷油器。根据该专利,由传统电动泵供油的进气口喷射器在44 psi(3 bar)下运行,而直接喷射器在1,450 psi(100 bar)下运行。对于GDI系统而言,这实际上是非常低的压力,一些生产系统在大约2,900 psi(200 bar)的压力下运行,F1发动机可以使用高达7,250 psi(500 bar)的压力。

这些图显示了该组合系统用在通常吸气和增压的四缸发动机上,并带有用于直接喷射的第二个燃油泵。
尽管仅存在专利申请并不能保证一项技术能够投入生产,但GDI在四轮驱动中占主导地位的速度表明,一旦零部件价格下降和排放标准提高,GDI也会在摩托车中迅速普及,双喷系统成为最佳解决方案的地方,川崎和本田显然都为即将到来的时刻做好了准备。(文章来源:摩信网)